Biella Prox completa Suzuki RM 250 1996-2002
€ 159,04 Il prezzo originale era: € 159,04.€ 135,19Il prezzo attuale รจ: € 135,19.
Biella Prox completa Suzuki RMZ 450
€ 210,40 Il prezzo originale era: € 210,40.€ 178,84Il prezzo attuale รจ: € 178,84.
Biella Prox completa Suzuki RM 250 2003-2012
Biella Prox completa Suzuki RM 250 2003-2012 progettato per garantire durata e prestazioni affidabili nelle moto da cross.
10 disponibili
Aggiungi € 99,00 al carrello e ottieni la spedizione gratuita!
Compatibile con queste moto:
| Marca | Modello | Anni |
|---|---|---|
| SUZUKI | RM 250 | 2003โ2012 |
Info prodotto
Biella Prox completa Suzuki RM 250 2003-2012 รจ un ricambio tecnico per moto da cross, pensato per offrire affidabilitร e prestazioni.
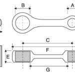
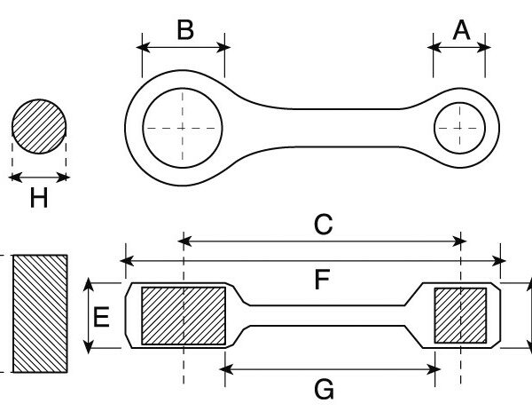
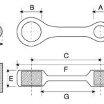
Misure
- Misura A: 23.00 mm
- Misura B: 30.00 mm
- Misura C: 125.00 mm
- Misura D: 19.85 mm
- Misura E: 19.85 mm
- Misura F: 161.80 mm
- Misura G: 98.50 mm
- Misura H: 24.00 mm
- Misura I: 59.30 mm
Potrebbe interessarti anche...
Scegli
Questo prodotto ha piรน varianti. Le opzioni possono essere scelte nella pagina del prodotto
